Wählen Sie Ihr Land
Gehen Sie auf Ihre lokale Sikla-Seite und entdecken Sie Angebote für Ihr Land oder Ihre Verkaufsregion:
Land


Gruppe: B111
Artikel-Nr. 803868
Dies ist ein Ersatz für Old Productname (Artikel-Nr. 123456).
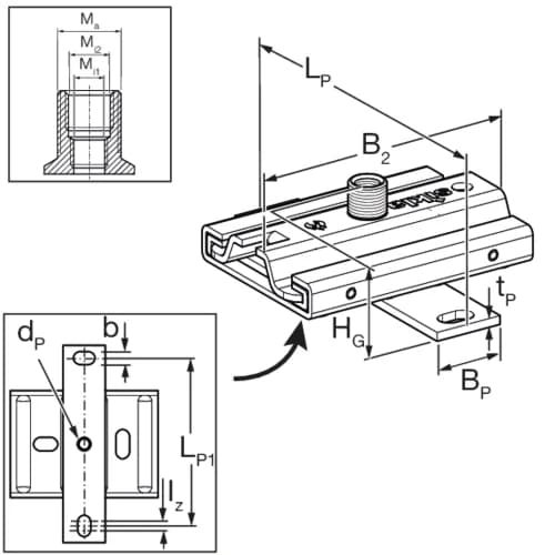
Gleitsatz zur Einzel- und Doppelhalterung auf siMetrix Montageprofil PRO 46 oder direkt am Baukörper
Variable Anschlussmöglichkeiten über 3G-Mutter je nach Belastung: M10, M16 und 1/2"
Bitte melden Sie sich an um Preise und Verfügbarkeiten zu sehen
Anmelden oder registrieren
L | 85 mm |
LP | 138 mm |
B2 | 155,5 mm |
B4 | 200 mm |
Mi1 | M10 |
Mi2 | M16 |
Ma | 1/2" |
-VY,Gebr | 4,51 kN |
VY,Gebr | 4,51 kN |
-VZ,Gebr | 3,45 kN |
VZ,Gebr | 11,03 kN |
-MX,Gebr | 0,13 kNm |
MX,Gebr | 0,13 kNm |
Zulässige Langzeit-Temperatur | 130 °C |
Gleitreibungszahl μ | 0,7 |
Haftreibungszahl μ0 | 0,7 |
Material Grundkörper | Stahl |
Material Gleitkörper | PA GF, MoS2 beschichtet |
Oberfläche | HCP |
Korrosionsschutzklasse | C4 |
Bei geständerter Montage ab DN 100 ist bei beiden Gleitsätzen eine Gegenmutter G 1/2" auf die 3G-Schweißmutter zu montieren.