Wählen Sie Ihr Land
Gehen Sie auf Ihre lokale Sikla-Seite und entdecken Sie Angebote für Ihr Land oder Ihre Verkaufsregion:
Land



Gruppe: A023
Artikel-Nr. 805068
Dies ist ein Ersatz für Old Productname (Artikel-Nr. 123456).
Direkte Montage auf siFramo, Montageschienen 41 und Stahlträgern möglich
Gleitplatte reduziert Reibung zwischen Rohr und Unterkonstruktion
Galvanische Trennung durch Kunststoff-Einlage und Gleitplatte – ideal für VA-Rohre
Bitte melden Sie sich an um Preise und Verfügbarkeiten zu sehen
Anmelden oder registrieren
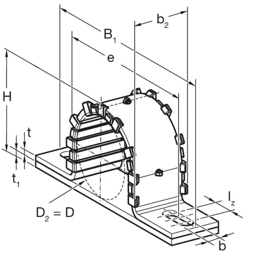
H | 37,1 mm |
D | 24,7 mm |
B1 | 128 mm |
lz | 20 mm |
e | 85 mm |
t | 4 mm |
t1 | 5 mm |
VY,Gebr | 0,60 kN |
VZ,Gebr | 2,30 kN |
Die Ermittlung der zul. Belastung erfolgte durch Belastungsprüfungen in Anlehnung an DIN EN 13480-3 Anhang J.
Bei Montage auf Stahlträgern sowie Montageschienen 41 sind die Tragfähigkeiten dieser Unterkonstruktionen (und Verbindungsmittel) ggf. zu überprüfen.
max. Temperatur | 90 °C |
min. Temperatur | -20 °C |
Material Grundkörper | Stahl |
Material Gleitkörper | PA 6.0, POM |
Oberfläche | HCP |
Korrosionsschutzklasse | C4 |
Zertifizierung

Je nach vorhandener Unterkonstruktion ergeben sich folgende Montagearten:
a) Auf siFramo Trägerprofilen mit Formlockschrauben FLS
b) Auf Montageschienen 41 mit Schrauben M10 und passender Gewindeplatte
c) Auf Stahlträgern (H-, I- und Doppel-U) mit Schrauben M10