Wählen Sie Ihr Land
Gehen Sie auf Ihre lokale Sikla-Seite und entdecken Sie Angebote für Ihr Land oder Ihre Verkaufsregion:
Land



Gruppe: 1330
Dies ist ein Ersatz für Old Productname (Artikel-Nr. 123456).
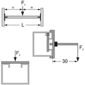
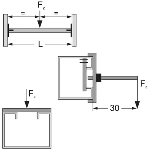
Dient zur Herstellung von Traversen zwischen zwei baulichen Anbindungsmöglichkeiten
Pro Traverse werden zwei Montagesätze benötigt
Bitte melden Sie sich an um Preise und Verfügbarkeiten zu sehen
Dieser Montagesatz dient zur Herstellung von Traversen zwischen zwei baulichen Anbindungsmöglichkeiten. Hinweis: Es sind pro Traverse immer zwei Montagesätze zu verwenden.
Zertifizierung

Material Grundkörper | Stahl |
Oberfläche | galvanisch verzinkt (Fe//Zn) |
Korrosionsschutzklasse | C2 |
Software
Dieses Produkt ist in der folgenden Software verfügbar.

Info | Typ | Gewicht | Verpackung | Artikel-Nr. | Preis | |
| MOS MH 41 | 0,27 kg/Stück | 10 Stück | 143800 | bitte einloggen | ||