Wählen Sie Ihr Land
Gehen Sie auf Ihre lokale Sikla-Seite und entdecken Sie Angebote für Ihr Land oder Ihre Verkaufsregion:
Land



Gruppe: A442
Artikel-Nr. 117171
Dies ist ein Ersatz für Old Productname (Artikel-Nr. 123456).
Direkte Anbindung von TP F 100 und TP F 100/160 auf verschiedenen Dachtypen möglich
Bitte melden Sie sich an um Preise und Verfügbarkeiten zu sehen
Anmelden oder registrieren
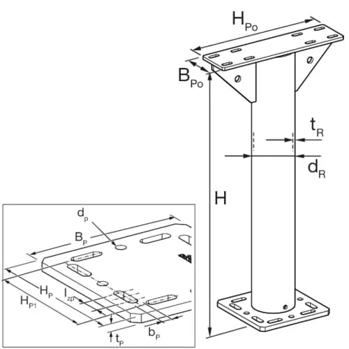
H | 746 mm |
BP | 220 mm |
HP | 220 mm |
HP1 | 170 mm |
dP | 14 mm |
IZP | 30 mm |
dR | 114,3 mm |
tR | 7,1 mm |
tPo | 8 mm |
BPo | 100 mm |
HPo | 383 mm |
BPo1 | 62 mm |
HPo1 | 333 mm |
HPo2 | 193 mm |
IzPo | 20 mm |
Anbindung von Trägerprofilen TP F 100 und TP F 100/160 mittels 8 Formlockschrauben FLS F.
Befestigung auf Dächern und an Beton mittels Schwerlastankern M12.
Wichtig: Die Zinkablaufbohrungen im Stützrohr sind nach erfolgter Montage abzudichten. Eine ggf. gewünschte Dämmung im Stützrohr kann bauseits z. B. durch Ausschäumung vorgenommen werden
Material Grundkörper | Stahl |
Oberfläche | HCP |
Korrosionsschutzklasse | C4 |