Wählen Sie Ihr Land
Gehen Sie auf Ihre lokale Sikla-Seite und entdecken Sie Angebote für Ihr Land oder Ihre Verkaufsregion:
Land


Gruppe: 1102
Artikel-Nr. 110272
Dies ist ein Ersatz für Old Productname (Artikel-Nr. 123456).
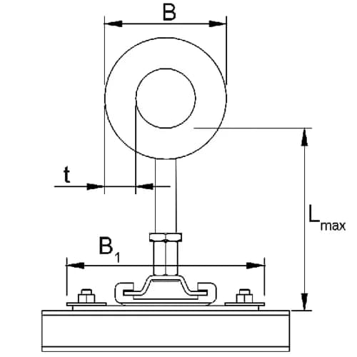
Baugruppe als Führungslager mit gedämmter Kälteschelle RB für Kälte- und Kaltwasseranlagen, abgestimmt auf Sikla Schienensystem 41
Höhenverstellung über Längenanpassung des Gewinderohres 1/2'
Bitte melden Sie sich an um Preise und Verfügbarkeiten zu sehen
Anmelden oder registrieren
B1 | 190 mm |
B | 108 mm |
t | 30 mm |
Lmax | 200 mm |
Jede Baugruppe ist vorkonfektioniert verpackt und etikettiert.
Stückliste:
Pos. 1 Kälteschelle RB
Montagekit MKit FR MS41 S 1/2" bestehend aus:
Pos. 2 Gewinderohr GR 1/2" x 200
Pos. 3 Gegenmutter NT G 1/2"
Pos. 4 Adapter AD IG/IG 1/2"/1/2"
Pos. 5 Gleitsatz H3G-PL
Pos. 6 Hakenkopfschraube TBO HZ41 M10 x 20
max. Temperatur | 105 °C |
min. Temperatur | -50 °C |
Wärmeleitfähigkeit λ {0°C} | λ 0,045 W/Mk |
Klasse Brandverhalten | B2 nach DIN 4102 |
Raumgewicht | 250,00 kg/m³ |
Wasserdampf-Diffusionswiderstandszahl | µ 1200 |
Material Grundkörper | Stahl |
Material Dämmkörper | PUR |
Material Verbindungselement | Stahl |
Oberfläche | galvanisch verzinkt (Fe//Zn), HCP |
Korrosionsschutzklasse | C4 |
Die Montage der einzelnen Komponenten zu einer Baugruppe erfolgt im Zuge der Rohrmontage auf der Baustelle.