Wählen Sie Ihr Land
Gehen Sie auf Ihre lokale Sikla-Seite und entdecken Sie Angebote für Ihr Land oder Ihre Verkaufsregion:
Land


Gruppe: 1102
Artikel-Nr. 110195
Dies ist ein Ersatz für Old Productname (Artikel-Nr. 123456).
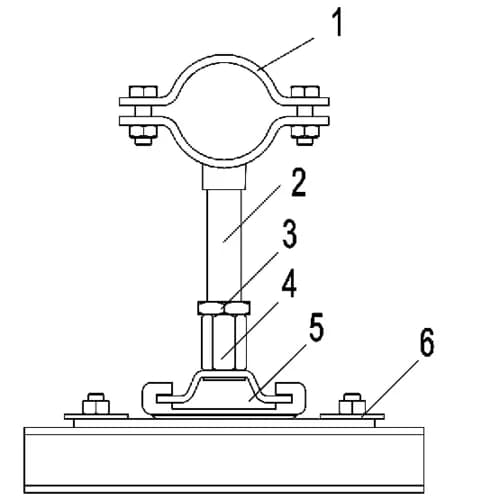
Baugruppe zum Einsatz als Führungslager mit schwerer Rohrschelle Stabil I-1/2'
Abgestimmt auf das Sikla Schienensystem 41, Höhenverstellung über Gewinderohr 1/2'
Für stabile Rohrhalterungen, ab DN 65 mit Gleitsatz GS H3G2-PL
Bitte melden Sie sich an um Preise und Verfügbarkeiten zu sehen
Anmelden oder registrieren
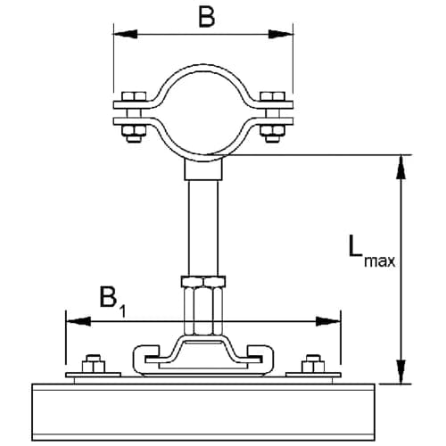
B1 | 190 mm |
Lmax | 200 mm |
Jede Baugruppe ist vorkonfektioniert verpackt und etikettiert.
Stückliste:
Pos. 1 Rohrschelle Stabil I-1/2"
Montagekit MKit FR MS 41 S 1/2" bestehend aus:
Pos. 2 Gewinderohr GR 1/2" x 200
Pos. 3 Gegenmutter NT G 1/2"
Pos. 4 Adapter AD IG/IG 1/2"/1/2"
Pos. 5 Gleitsatz GS H3G-PL / GS H3G2-PL
Pos. 6 Hakenkopfschraube TBO HZ 41 M10 x 20
Material Grundkörper | Stahl |
Material Gleitkörper | Stahl |
Material Verbindungselement | Stahl |
Oberfläche | galvanisch verzinkt (Fe//Zn), HCP |
Korrosionsschutzklasse | C4 |
Die Montage der einzelnen Komponenten zu einer Baugruppe erfolgt im Zuge der Rohrmontage auf der Baustelle.